Основные характеристики
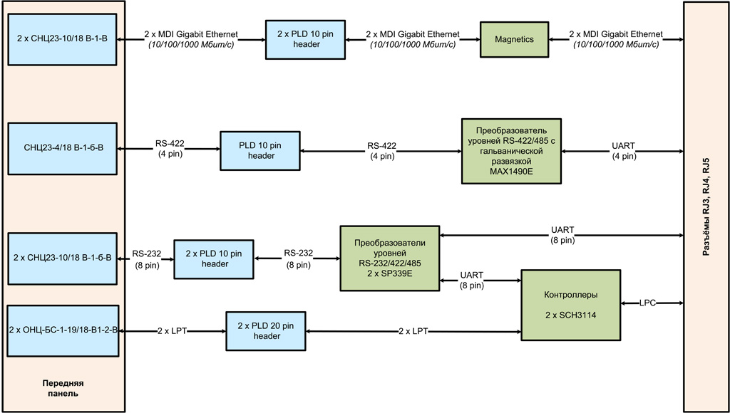
- Интерфейсы модуля выведены на переднюю панель в разъёмы типа
ОНЦ-БС и СНЦ23 - Модуль форм-фактора CompactPCI 6U, соответствующий стандарту PICMG 2.0 Rev 3.0
- Поддержка широкого спектра интерфейсов: Gigabit Ethernet,
RS-232 ,RS-422 (с гальванической развязкой), LPT
Описание
Особенности
SCR-564 позволяет расширить функциональные возможности процессорных модулей
SCP-562
или SCP-564 за счет вывода следующих
интерфейсов: Gigabit Ethernet, LPT,
Все компоненты модуля рассчитаны на применение в сложных климатических условиях.
Совместимость с операционными системами (ОС)
Контроллеры интерфейсов и интегрированные устройства модуля тыльного ввода/вывода
не требуют написания специального программного обеспечения, все поставляемые драйверы
совместимы с большинством ОС. Стандартная поставка модуля обеспечивает драйверную
поддержку в следующих ОС:
Microsoft Windows 7/8.1/10, Embedded Standard 7/8.1, Server 2008 R2 SP1/2012/2012 R2,
QNX Neutrino RTOS 6.5.0/6.6.0, ЗОСРВ «Нейтрино»
(КПДА.10964-01), Astra Linux Special Edition 1.5, защищённая ОС «Заря», МСВС 3.0
Области применения
Интерфейсный модуль SCR-564 в
Модуль SCR-564 применяется совместно с одним из следующих модулей:
SCP-562 или
с SCP-564, и позволяет создать удобный

